Is there any effective way to utilize the workspace in Adobe Illustrator, such that we need the only necessary tools to create illustrations.
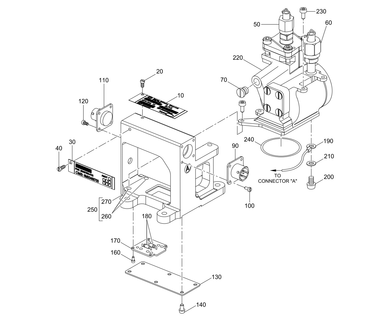
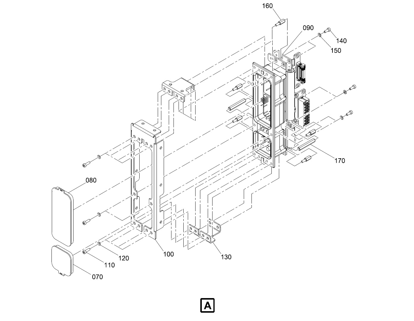
I need to create line-art illustrations as attached.
I am new to Adobe Illustrator, since I used Tech-Illustrator, IsoDRAW, CATIA and 3Dvia in my previous company.
Regards,
Rahul KULKARNI
					
											 
 

